Мы используем cookie для наилучшего представления нашего сайта. Подробнее об этом в Политике конфиденциальности.
Ок

Сызрань

Ваш город:
Сызрань (Самарская область)?
Нет
Да
Каталог
Каталог Написать в WhatsApp
Мотоэкипировка

Струйный насос в сборе 2-Х ТАКТНОГО ПЛМ MERCURY 60 Серийный номер от 0P325500 и выше

Струйный насос в сборе 2-Х ТАКТНОГО ПЛМ MERCURY 60 Серийный номер от 0P325500 и выше в Самаре: актуальный каталог, цены, фото, описание. Купите струйный насос в сборе 2-х тактного плм mercury 60 серийный номер от 0p325500 и выше в кредит – оформите заявку онлайн за 1 минуту!

Оригинальные запчасти

Артикул НАИМЕНОВАНИЕ Кол-во деталей в узле Примечание Наличие Цена Аналоги Фото
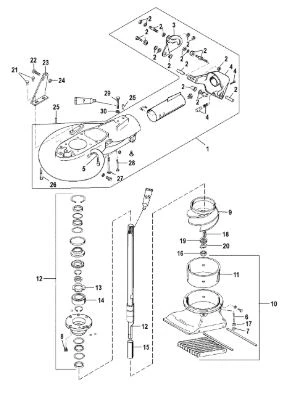
1 856143A6 JET PUMP ASSEMBLY

Под заказ

1

Под заказ

уточнить

Купить
2 855767T60 HOUSING, Pump

Под заказ

1

Под заказ

уточнить

Купить
3 878377 SHIFT LINKAGE KIT

Под заказ

1

Под заказ

уточнить

Купить
4 878382 CAM

Под заказ

1

Под заказ

уточнить

Купить
5 878380 Стопор (GATE-REVERSE)

Под заказ

1

Под заказ

уточнить

Купить
6 827490 Шланг шприцевания водомета (HOSE-LUBE)

Под заказ

1

Под заказ

уточнить

Купить
7 855840 STUD (.312 X 18 X 1.81)

Под заказ

6

Под заказ

уточнить

Купить
8 82670910 Гайга самоконтр. (NUT, (.312-18) Stainless Steel)

Под заказ

6

Под заказ

уточнить

Купить
9 848497 Болт (SCREW 0.312-18 X 1)

Под заказ

4

Под заказ

уточнить

Купить
10 855708T60 Импеллер водомета (IMPELLER)

Под заказ

1

Под заказ

уточнить

Купить
11 80141260 HOUSING, Intake

Под заказ

1

Под заказ

уточнить

Купить
12 8271882 Кольцо импеллера (LINER)

Под заказ

1

Под заказ

уточнить

Купить
13 85576960 Приводной вал Jet 40 2-х такт (DRIVESHAFT)

Под заказ

1

Под заказ

уточнить

Купить
14 8796521 THRUST WASHER

Под заказ

1

Под заказ

уточнить

Купить
15 8796531 Подшипник (BEARING-BALL)

Под заказ

1

Под заказ

уточнить

Купить
16 8271891 Втулка (SLEEVE)

Под заказ

1

Под заказ

уточнить

Купить
17 8271901 Гайка (NUT)

Под заказ

1

Под заказ

уточнить

Купить
18 36001 Шайба (WASHER, LOWER MOUNT COVER SCREW)

Под заказ

6

Под заказ

уточнить

Купить
19 801405875 Шпонка (KEY)

Под заказ

1

Под заказ

уточнить

Купить
20 801404875 Шайба импеллера (SHIM)

Под заказ

8

Под заказ

уточнить

Купить
21 801403875 Фиксатор гайки (WASHER-TAB)

Под заказ

1

Под заказ

уточнить

Купить
22 19923062 SCREW (1/4-20 X .625)

Под заказ

2

Под заказ

уточнить

Купить
23 60411 SCREW (.312-18 X 1.25)

Под заказ

1

Под заказ

уточнить

Купить
24 801410 BRACKET-CABLE SUPPORT

Под заказ

1

Под заказ

уточнить

Купить
25 801407 PIN-DOWEL

Под заказ

2

Под заказ

уточнить

Купить
26 4010860 SCREW (M10 X 60)

Под заказ

2

Под заказ

уточнить

Купить
27 4010890 SCREW (M10 X 90)

Под заказ

1

Под заказ

уточнить

Купить
28 4010870 SCREW (M10 X 70)

Под заказ

1

Под заказ

уточнить

Купить
29 95802 Болт (SCREW)

Под заказ

1

Под заказ

уточнить

Купить
30 856774 Шайба (WASHER)

Под заказ

1

Под заказ

уточнить

Купить

Нулевая цена не означает отсутствие товара. Оформите заказ, и менеджер сообщит вам цену и наличие товара, предварительно запросив их у поставщика

Главная Магазины
Корзина0
Профиль