Каталог
Каталог Написать в WhatsApp
Мотоэкипировка

Маслосборник 4-Х ТАКТНОГО ПЛМ MERCURY 6 Серийный номер от 0R000001 до 0R067089

Маслосборник 4-Х ТАКТНОГО ПЛМ MERCURY 6 Серийный номер от 0R000001 до 0R067089 в Самаре: актуальный каталог, цены, фото, описание. Купите маслосборник 4-х тактного плм mercury 6 серийный номер от 0r000001 до 0r067089 в кредит – оформите заявку онлайн за 1 минуту!

Оригинальные запчасти

Артикул НАИМЕНОВАНИЕ Кол-во деталей в узле Примечание Наличие Цена Аналоги Фото
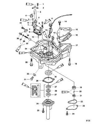
1 82303110 SCREW, (M5 x 16)

Под заказ

1

Под заказ

уточнить

Купить
2 803543 STOPPER

Под заказ

1

Под заказ

уточнить

Купить
3 952237 TUBING

Под заказ

1

Под заказ

уточнить

Купить
4 8035202 SEAL

Под заказ

2

Под заказ

уточнить

Купить
5 855558 SCREW, (M5 x 16)

Под заказ

2

Под заказ

уточнить

Купить
6 160721 WASHER

Под заказ

2

Под заказ

уточнить

Купить
7 803540 HOUSING, Strainer

Под заказ

1

Под заказ

уточнить

Купить
8 803542 STRAINER

Под заказ

1

Под заказ

уточнить

Купить
9 803541 CUP

Под заказ

1

Под заказ

уточнить

Купить
10 803539 LEAD WIRE

Под заказ

1

Под заказ

уточнить

Купить
11 803538 Выключатель датчика давления масла (SWITCH)

Под заказ

1

Под заказ

уточнить

Купить
12 8035135 GROMMET

Под заказ

1

Под заказ

уточнить

Купить
13 803532 PLATE, Exhaust

Под заказ

1

Под заказ

уточнить

Купить
14 803508015 Прокладка (+TH 3H6-02305-0D0)

Под заказ

1

Под заказ

уточнить

Купить
15 803531T Поддон (PAN, Oil)

Под заказ

1

Под заказ

уточнить

Купить
16 168306 BOLT, (M6 x 40)

Под заказ

3

Под заказ

уточнить

Купить
17 8035331 ROTOR, Outer

Под заказ

1

Под заказ

уточнить

Купить
18 162563 PIN

Под заказ

1

Под заказ

уточнить

Купить
19 803533 ROTOR, Inner

Под заказ

1

Под заказ

уточнить

Купить
20 8035134 O-RING, Oil Pan Cover

Под заказ

1

Под заказ

уточнить

Купить
21 803513010 Кольцо (O-RING)

Под заказ

1

Под заказ

уточнить

Купить
22 803534 COVER

Под заказ

1

Под заказ

уточнить

Купить
23 168287 BOLT, (M6 x 16)

Под заказ

2

Под заказ

уточнить

Купить
24 167051 Болт (BOLT)

Под заказ

2

Под заказ

уточнить

Купить
25 8150162 HOUSING-OIL SEAL

Под заказ

1

Под заказ

уточнить

Купить
26 815018 Втулка (SPACER)

Под заказ

1

Под заказ

уточнить

Купить
27 8M0101648 Сальник (SEAL)

Под заказ

1

Под заказ

уточнить

Купить
28 803509021 Болт (BOLT-DRAIN)

Под заказ

1

Под заказ

уточнить

Купить
29 8035161 Шайба (WASHER)

Под заказ

1

Под заказ

уточнить

Купить
30 8150685 BOLT, (M8 x 40)

Под заказ

6

Под заказ

уточнить

Купить
31 803508014 Прокладка (+TH 3H6-07402-0C0)

Под заказ

1

Под заказ

уточнить

Купить
32 803535 CONTROL PLUNGER

Под заказ

1

Под заказ

уточнить

Купить
33 8035541 SPRING

Под заказ

1

Под заказ

уточнить

Купить
34 168231 O-RING, Oil Pan Seat

Под заказ

1

Под заказ

уточнить

Купить
35 803536 SEAT

Под заказ

1

Под заказ

уточнить

Купить
36 803537 COVER

Под заказ

1

Под заказ

уточнить

Купить
37 8M0114820 POWERHEAD GASKET

Под заказ

1

Под заказ

уточнить

Купить
38 803508A05 POWERHEAD GASKET SET

Под заказ

1

Под заказ

уточнить

Купить

Нулевая цена не означает отсутствие товара. Оформите заказ, и менеджер сообщит вам цену и наличие товара, предварительно запросив их у поставщика

Главная Магазины
Корзина0
Профиль