Каталог
Каталог Написать в WhatsApp
Мотоэкипировка

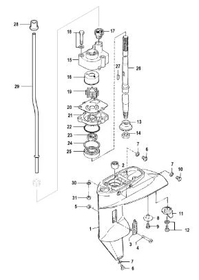
Корпус шестерни, приводной вал-Bigfoot 4-Х ТАКТНОГО ПЛМ MERCURY 8 Серийный номер от 0P325500 и выше

Корпус шестерни, приводной вал-Bigfoot 4-Х ТАКТНОГО ПЛМ MERCURY 8 Серийный номер от 0P325500 и выше в Самаре: актуальный каталог, цены, фото, описание. Купите корпус шестерни, приводной вал-bigfoot 4-х тактного плм mercury 8 серийный номер от 0p325500 и выше в кредит – оформите заявку онлайн за 1 минуту!

Оригинальные запчасти

Артикул НАИМЕНОВАНИЕ Кол-во деталей в узле Примечание Наличие Цена Аналоги Фото
1 8M0070884 GEAR HSG COMPLETE

Под заказ

1

Под заказ

уточнить

Купить
2 8M0070895 GEAR HSG COMPLETE

Под заказ

1

Под заказ

уточнить

Купить
3 8M0070873 Корпус редуктора (GEAR HSG BASIC)

Под заказ

1

Под заказ

уточнить

Купить
4 160521 Роликовый подшипник (BEARING-NEEDLE )

Под заказ

1

Под заказ

уточнить

Купить
5 17635 SCREW, STARTER LOCK

Под заказ

1

Под заказ

уточнить

Купить
6 85372216 NUT

Под заказ

1

Под заказ

уточнить

Купить
7 8M0082880 Прокладка (GASKET @3)

Под заказ

3

Под заказ

уточнить

Купить
8 16133 Водяной фильтр (WATER STRAINER)

Под заказ

1

Под заказ

уточнить

Купить
9 16134 Болт (SCREW, WATER STRAINER)

Под заказ

1

Под заказ

уточнить

Купить
10 953683 Заглушка (PLUG-OIL)

Под заказ

1

Под заказ

уточнить

Купить
11 853762T01 Триммер (TRIM TAB)

Под заказ

1

Под заказ

уточнить

Купить
12 167051 Болт (BOLT)

Под заказ

1

Под заказ

уточнить

Купить
13 803740T02 GEAR, Pinion

Под заказ

1

Под заказ

уточнить

Купить
14 85372211 Гайка (NUT)

Под заказ

1

Под заказ

уточнить

Купить
15 803750A05 Корпус помпы верх(HOUSING ASSEMBLY Up Water Pump)

Под заказ

1

Под заказ

уточнить

Купить
16 803751 Стакан (LINER- W/P)

Под заказ

1

Под заказ

уточнить

Купить
17 8036674 Уплотнитель (SEAL)

Под заказ

1

Под заказ

уточнить

Купить
18 803748 Крыльчатка (IMPELLER)

Под заказ

1

Под заказ

уточнить

Купить
19 803753 Зеркало помпы (GUIDE PLATE)

Под заказ

1

Под заказ

уточнить

Купить
20 803750A04 Корпус помпы низ (BASE ASSEMBLY, Water Pump)

Под заказ

1

Под заказ

уточнить

Купить
21 8537096 Упорное кольцо (O RING)

Под заказ

1

Под заказ

уточнить

Купить
22 803752 Сальник (OIL SEAL)

Под заказ

1

Под заказ

уточнить

Купить
23 813276001 Регулировочное кольцо (SHIM)

Под заказ

1

Под заказ

уточнить

Купить
24 813276015 Регулировочное кольцо (SHIM)

Под заказ

1

Под заказ

уточнить

Купить
25 813276003 Регулировочное кольцо (SHIM)

Под заказ

1

Под заказ

уточнить

Купить
26 813276005 Регулировочное кольцо (SHIM)

Под заказ

1

Под заказ

уточнить

Купить
27 16132T05 Подшипник (BEARING-BALL)

Под заказ

1

Под заказ

уточнить

Купить
28 803738T09 DRIVESHAFT

Под заказ

1

Под заказ

уточнить

Купить
29 803738T10 DRIVESHAFT (Component of X-Long Extension Housing Kit)

Под заказ

1

Под заказ

уточнить

Купить
30 803749 Шпонка (KEY)

Под заказ

1

Под заказ

уточнить

Купить
31 804899002 GROMMET (Upper)

Под заказ

1

Под заказ

уточнить

Купить
32 803755T10 TUBE, Water

Под заказ

1

Под заказ

уточнить

Купить
33 803755T11 TUBE, Water (Component of X-Long Extension Housing Kit)

Под заказ

1

Под заказ

уточнить

Купить
34 8M0135942 WASHER

Под заказ

4

Под заказ

уточнить

Купить
35 400212 Гайка (NUT)

Под заказ

4

Под заказ

уточнить

Купить
36 8M0082884 Прокладка (GASKET SET)

Под заказ

1

Под заказ

уточнить

Купить
37 8M0122064 Рем.комплект помпы F8-20 (PUMP KIT Water-Complete)

Под заказ

1

Под заказ

уточнить

Купить
38 803748K02 REPAIR KIT, Water Impeller

Под заказ

1

Под заказ

уточнить

Купить
39 803748Q02 REPAIR KIT, Water Impeller

Под заказ

1

Под заказ

уточнить

Купить

Нулевая цена не означает отсутствие товара. Оформите заказ, и менеджер сообщит вам цену и наличие товара, предварительно запросив их у поставщика

Главная Магазины
Корзина0
Профиль