Каталог
Каталог Написать в WhatsApp
Мотоэкипировка

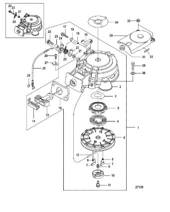
Ручной стартер 4-Х ТАКТНОГО ПЛМ MERCURY 8 Серийный номер от 0P325500 и выше

Ручной стартер 4-Х ТАКТНОГО ПЛМ MERCURY 8 Серийный номер от 0P325500 и выше в Самаре: актуальный каталог, цены, фото, описание. Купите ручной стартер 4-х тактного плм mercury 8 серийный номер от 0p325500 и выше в кредит – оформите заявку онлайн за 1 минуту!

Оригинальные запчасти

Артикул НАИМЕНОВАНИЕ Кол-во деталей в узле Примечание Наличие Цена Аналоги Фото
1 803716T07 Стартер (STARTER ASSEMBLY, Recoil)

Под заказ

1

Под заказ

уточнить

Купить
2 803716T05 HOUSING, Starter

Под заказ

1

Под заказ

уточнить

Купить
3 895128 WAVE WASHER

Под заказ

1

Под заказ

уточнить

Купить
4 804024T07 Пружина (SPRING, Starter)

Под заказ

1

Под заказ

уточнить

Купить
5 895129 HOUSING, Starter Spring

Под заказ

1

Под заказ

уточнить

Купить
6 803717001 Бобина стартерной веревки (REEL)

Под заказ

1

Под заказ

уточнить

Купить
7 8M0078324 Храповик (RATCHET)

Под заказ

2

Под заказ

уточнить

Купить
8 812634003 Пружина (SPRING, Return)

Под заказ

2

Под заказ

уточнить

Купить
9 812636001 Пружина (SPRING)

Под заказ

1

Под заказ

уточнить

Купить
10 8M0078325 Фрикционная плита (FRICTION PLATE)

Под заказ

1

Под заказ

уточнить

Купить
11 812637001 Болт (BOLT)

Под заказ

1

Под заказ

уточнить

Купить
12 8M0110704 Веревка стартера (STARTER ROPE)

Под заказ

1

Под заказ

уточнить

Купить
13 812640002 Рукоятка стартерной веревки (HANDLE, Starter Rope)

Под заказ

1

Под заказ

уточнить

Купить
14 8M0084137 Зажим рукоятки стартерной веревки (ANCHOR)

Под заказ

1

Под заказ

уточнить

Купить
15 803720001 SEAL, Starter

Под заказ

1

Под заказ

уточнить

Купить
16 804031001 Блокиратор (INTERLOCK, Starter)

Под заказ

1

Под заказ

уточнить

Купить
17 8555449 Болт (SCREW)

Под заказ

1

Под заказ

уточнить

Купить
18 895130 Втулка (COLLAR)

Под заказ

1

Под заказ

уточнить

Купить
19 812645007 Пружина (SPRING)

Под заказ

1

Под заказ

уточнить

Купить
20 803721002 CAM, Starter Interlock

Под заказ

1

Под заказ

уточнить

Купить
21 803721003 CAM, Starter Interlock

Под заказ

1

Под заказ

уточнить

Купить
22 895106 *** Шайба (WASHER @2)

Под заказ

1

Под заказ

уточнить

Купить
23 855544 SCREW

Под заказ

1

Под заказ

уточнить

Купить
24 855545001 Втулка (COLLAR)

Под заказ

1

Под заказ

уточнить

Купить
25 855545004 COLLAR

Под заказ

1

Под заказ

уточнить

Купить
26 898101627 LEVER, Starter Lock

Под заказ

1

Под заказ

уточнить

Купить
27 898101628 SPRING

Под заказ

1

Под заказ

уточнить

Купить
28 895131A01 CABLE ASSEMBLY, Starter Interlock

Под заказ

1

Под заказ

уточнить

Купить
29 803762 CLAMP

Под заказ

1

Под заказ

уточнить

Купить
30 8M0085099 O-RING

Под заказ

1

Под заказ

уточнить

Купить
31 16257003 SCREW, Tapping - Stainless Steel

Под заказ

1

Под заказ

уточнить

Купить
32 895133 Крышка (COVER)

Под заказ

1

Под заказ

уточнить

Купить
33 881305001 GROMMET, Rubber

Под заказ

1

Под заказ

уточнить

Купить
34 881305002 GROMMET

Под заказ

2

Под заказ

уточнить

Купить
35 4000330 Болт (SCREW @5)

Под заказ

3

Под заказ

уточнить

Купить

Нулевая цена не означает отсутствие товара. Оформите заказ, и менеджер сообщит вам цену и наличие товара, предварительно запросив их у поставщика

Главная Магазины
Корзина0
Профиль